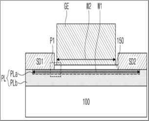
- 요약 반도체 소자는, 기판 상의 상변화 물질층; 상기 상변화 물질층 상에 배치되어 상기 상변화 물질층 내 전하의 축적을 유도하는 게이트 전극; 및 상기 상변화 물질층 상에서 게이트 전극을 사이에 두고 서로 이격되는 한 쌍의 소스/드레인 전극들을 포함한다. 상기 상변화 물질층은 상기 게이트 전극에 전압이 인가됨에 따라 상기 전하의 축적에 의해 결정 구조가 변하는 상변화 영역을 포함한다.
- 대표 청구항 기판 상의 상변화 물질층;상기 상변화 물질층 상에 배치되어 상기 상변화 물질층 내 전하의 축적을 유도하는 게이트 전극; 및상기 상변화 물질층 상에서 게이트 전극을 사이에 두고 서로 이격되는 한 쌍의 소스/드레인 전극들을 포함하되,상기 상변화 물질층은 상기 게이트 전극에 전압이 인가됨에 따라 상기 전하의 축적에 의해 결정 구조가 변하는 상변화 영역을 포함하는 반도체 소자.
-
대표 도면
-
전략기술 분류
반도체
고성능, 저전력 인공지능 반도체 - 출원번호 10-2022-0117116 KIPRIS
- 출원일 2022-09-16
- 공개번호 10-2024-0038376
- 공개일 2024-03-25
- 등록번호
- 등록일
- 우선권 번호
- 우선권 국가
- 우선권 주장일
- 현재 상태 심사중
- 현재 권리자
- IPC 코드 H10N-070/00
NRF-TCC 뉴스레터 구독
최신 기술이전 동향, 특허 정보, 수익화 프로그램 소식을 이메일로 받아보세요.
Copyright ⓒ 한국연구재단 기술사업화센터 (NRF-TCC) All rights reserved.